磁翻板液位計工作原理及結構分析
發布時間:2022-07-05 23:59:45
我相信許多客戶都熟悉磁性翻板液位計。今天,我將介紹磁翻板液位計的工作原理和結構
磁翻板液位計的工作原理;磁翻板液位計主要根據磁耦合和浮力原理實現液位或邊界的檢測,如圖所示。磁浮子安裝在非磁性腔體中,浮子始終懸浮在液位或界面上,浮子的位置隨儲罐液位的變化而同步變化。指示器連接在空腔外部。指示器為真空密封玻璃管,配有磁性飛片或磁性翻板指示器。它通過磁耦合與腔內浮子配合,相互吸引并同步變化,指示浮子在腔內的相應位置,即液位或界面的高度,從而實現液位或邊界的同步指示
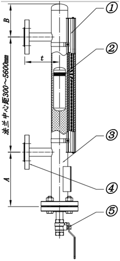
磁性翻板液位計的結構由浮子(主管)、磁性浮子、磁性翻板(磁翻柱)、指示器、排污閥、,連接法蘭等如下圖所示:
磁翻板液位計結構
磁翻板液位計結構圖

① 指示器;② 磁浮子;③ 浮筒;④ 連接法蘭;⑤ 排污閥
磁性翻板液位計
磁性翻板液位計的特點是簡單易用,并具有以下突出的特點和優點:
1。浮子作為傳感元件,磁鋼用于驅動襟翼指示,因此不需要能量輔助
2。通過高密封、防泄漏等技術措施,磁翻板液位即使在低溫、高溫、高壓、強腐蝕等各種惡劣環境下也能安全可靠地工作
3。由于磁翻板液位計兼容性高,已**應用于工業生產,是儲罐、儲罐和其他容器液位測量的理想選擇
然而,由于現場條件復雜,在實際測量中需要不同類型的磁翻板液位計來適應。目前,磁翻板液位計可根據不同標準分為不同類型,如標準型、經濟型、塑料型、襯里型、防爆型、隔熱型、,上述不同類型的磁性翻板液位計也有不同的特點:

(1)塑料磁性翻板液位計
是常用的防腐液位計。在相同范圍內,重量僅為標準磁性翻板液位計的15左右,特別便于現場安裝。flap-11c塑料磁性翻板液位計,適用于電廠化學水處理、污水處理、印染行業以及其他不溶于pvcpp
(2)的酸性介質的測量,是由304不銹鋼制成的flap-11s經濟型磁性翻板液位計
,適用于大多數工況和微腐蝕性液體的液位測量。經濟適用性是其*突出的特點。浮筒采用直徑51mm的優質無縫不銹鋼管,有效避免了普通管道易泄漏、使用壽命短、耐壓能力不足等缺陷,并提高了產品的可靠性
(3)flap-11p內襯四氟耐腐蝕磁性翻板液位計
主要用于測量高腐蝕性液體。適用于強酸、強堿、強氧化劑、有機溶劑等介質的測量。**應用于化工、煉油、儲運、水處理等行業
(4)是一種防爆磁性翻板液位計
適用于易燃易爆環境中需要遠程傳輸電信號的場合。與磁力開關或遠程變送器相結合,可實現高低液位報警動作和遠程實時控制液位
(5)該儀表為隔熱型磁翻板液位計

可根據用戶的具體情況定制,包括真空夾套式、蒸汽夾套式、熱水加熱式、,夾套冷卻型、電伴熱絕緣型、保溫棉型絕緣型等,適用于測量高粘度液體、冬季易凝固液體、低溫或高溫液體介質
以上與
“磁翻板液位計的原理、結構和特性”有關。如果您想了解更多關于液位開關、液位開關、液位計和其他液位測量儀器的信息,請聯系我們了解更多信息!