UPVC材質渦輪流量計
一、塑料渦輪流量計概述1、應用場合塑料渦輪流量計是一種精密流量測量儀表,測量無雜質、無腐蝕液體的流量和總量。它被廣 泛用于石油、化工、冶金、科研等領域。2、工作原理當被測液···
訂購熱線:181-5507-8261

一、塑料渦輪流量計概述
1、應用場合
塑料渦輪流量計是一種精密流量測量儀表,測量無雜質、無腐蝕液體的流量和總量。它被廣 泛用于石油、化工、冶金、科研等領域。
2、工作原理
當被測液體流過傳感器時,在流體作用下,葉輪受力旋轉,其轉速與管道平均流速成正比。葉輪的轉動周期地改變磁回路的磁阻值,檢測線圈中的磁通隨之發生周期性變化,產 生頻率與葉片旋轉頻率相同的感應電動勢,經放大后,進行轉換和處理。
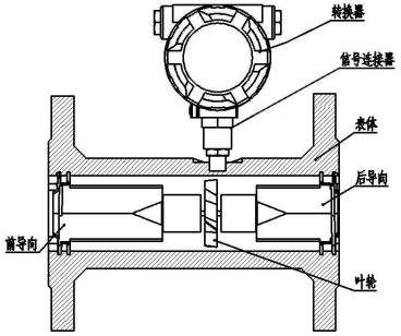
3、產品結構
塑料渦輪流量計主要由表體、前導向、后導向、葉輪、信號連接器和轉換器等組成。

二、塑料渦輪流量計
1、高精確度,一般可達±1%R、±0.5%R,高精度型可達±0.2%R;(R指讀數誤差)
2、重復性好,短期重復性可達0.05%~0.2%,正是由于良好的重復性,如經常校準或在線校準可得到極高的精確度,在貿易結算中是優先選用的流量計;
3、輸出脈沖頻率信號,適于總量計量及與計算機連接,無零點漂移,抗干擾能力強;
4、原始脈沖頻率范圍(10Hz~1.5KHz),信號分辨力強;
5、量程比寬,10:1~20:1;
6、結構緊湊輕巧,安裝維護方便,流通能力大;
7、適用高壓測量,儀表表體上不必開孔,易制成高壓型儀表;專用型傳感器類型多,可根據用戶特殊需要設計為各類專用型傳感器,例如低溫型﹑雙向型﹑井下型﹑混砂專用型等;
8、可制成插入型,適用于大口徑測量,壓力損失小,價格低,可不斷流取出,安裝維護方便。
三、塑料渦輪流量計技術規格
返回
1、應用場合
塑料渦輪流量計是一種精密流量測量儀表,測量無雜質、無腐蝕液體的流量和總量。它被廣 泛用于石油、化工、冶金、科研等領域。
2、工作原理
當被測液體流過傳感器時,在流體作用下,葉輪受力旋轉,其轉速與管道平均流速成正比。葉輪的轉動周期地改變磁回路的磁阻值,檢測線圈中的磁通隨之發生周期性變化,產 生頻率與葉片旋轉頻率相同的感應電動勢,經放大后,進行轉換和處理。
3、產品結構
塑料渦輪流量計主要由表體、前導向、后導向、葉輪、信號連接器和轉換器等組成。

二、塑料渦輪流量計
1、高精確度,一般可達±1%R、±0.5%R,高精度型可達±0.2%R;(R指讀數誤差)
2、重復性好,短期重復性可達0.05%~0.2%,正是由于良好的重復性,如經常校準或在線校準可得到極高的精確度,在貿易結算中是優先選用的流量計;
3、輸出脈沖頻率信號,適于總量計量及與計算機連接,無零點漂移,抗干擾能力強;
4、原始脈沖頻率范圍(10Hz~1.5KHz),信號分辨力強;
5、量程比寬,10:1~20:1;
6、結構緊湊輕巧,安裝維護方便,流通能力大;
7、適用高壓測量,儀表表體上不必開孔,易制成高壓型儀表;專用型傳感器類型多,可根據用戶特殊需要設計為各類專用型傳感器,例如低溫型﹑雙向型﹑井下型﹑混砂專用型等;
8、可制成插入型,適用于大口徑測量,壓力損失小,價格低,可不斷流取出,安裝維護方便。
三、塑料渦輪流量計技術規格
返回上一條:測風流量計 風速流量計
下一條:GPRS遠傳電磁流量計
跟此產品相關的產品 / Related Products
產品中心
Product Center
聯系我們
咨詢熱線:181-5507-8261
電話:0517-80218857
郵箱:1148173107@qq.com
地址:淮安市金湖縣塔集鎮閔橋工業集中區158號




